Produkty

Produkty

ZHENGRONG 1000VDC 200A 50Ka Pojistkový článek

ZHENGRONG 1000VDC 200A 50Ka Pojistkový článek

Model:ZHRS-A1
Pojistky Zhenghao vytvořily odpovídající poptávku po bateriových systémech pro ukládání energie (BESS) na základě zpětné vazby od zákazníků z trhu o růstu výroby obnovitelné energie. Tým pojistek Zhenghao uvedl na trh novou energetickou řadu ZHRS. S nárůstem hustoty energie moderních lithium-iontových baterií se integrátoři BESS snaží poskytnout zákazníkům více energie s menším půdorysem, aby uspokojili jejich potřeby.

Zavedení

Tyto systémy umožňují zachycovat přebytečnou energii generovanou během špiček a ukládat ji pro použití v obdobích, kdy je poptávka po energii vysoká, v konečném důsledku snižují celkové náklady a poskytují udržitelnou alternativu k tradičním zdrojům energie.

Systémy skladování energie se v posledních letech staly stále populárnějšími, protože stále více lidí se obrací k obnovitelným zdrojům energie, jako je solární a větrná energie.


Jako výrobce se sídlem v Číně jsme hrdí na to, že můžeme nabídnout vysoce kvalitní a spolehlivé produkty, které splňují potřeby obchodníků, kteří hledají komponenty pro skladování energie za velkoobchodní ceny.

Pojistkový článek ZHRS-A1 160-450A pro ukládání energie je nezbytnou součástí jakéhokoli systému ukládání energie.


Vlastnosti

Pojistka úložiště energie ZHRS-A1 160-450A je navržena tak, aby poskytovala účinné a bezpečné řešení pro systémy skladování energie. Tato pojistka je navržena speciálně pro aplikace s vysokým proudem, kde je ochrana zásadní, aby se zabránilo nadproudu, zkratu nebo jiným elektrickým poruchám.

Jmenovitá vypínací schopnost je 50 kA a jmenovité napětí pojistkové vložky je 800 V DC, což jí umožňuje zvládnout velké množství proudu, které vyžaduje systém akumulace energie. Pojistky také odolávají vysokým teplotám a zajišťují normální provoz i v nejdrsnějších podmínkách.

Kromě toho má pojistka zásobníku energie ZHRS-A1 160-450A kompaktní design, který se snadno instaluje a integruje do jakéhokoli systému ukládání energie. Tento typ pojistky je velmi vhodný pro širokou škálu aplikací, včetně fotovoltaických systémů, zásobníků energie a dalších systémů obnovitelné energie.


Výhody

Existuje několik výhod, které mohou obchodníci využívat, když odebírají pojistkový článek ZHRS-A1 160-450A z naší továrny v Číně. Patří sem:

Vysoce kvalitní produkty

Konkurenční ceny

Přizpůsobitelnost


Závěr

Vřele doporučuji ZHRS-A1 160-450A Energy Storage Fuse Link obchodníkům, kteří hledají vysoce kvalitní a spolehlivé produkty pro své potřeby uchovávání energie z obnovitelných zdrojů. Naše pojistka je navržena tak, aby poskytovala efektivní a bezpečné řešení pro systémy skladování energie, přičemž je vysoce přizpůsobitelná a cenově dostupná. Naše produkty jsou přísně testovány, abychom zajistili, že naši klienti obdrží jen to nejlepší, a jsme odhodláni poskytovat všem našim klientům vynikající zákaznický servis.


Popis

V dnešní době, se zvyšující se úrovní výkonu, je ochrana obvodů stále důležitější.


Specifikace

Číslo modelu
ZHRS-A1
Hodnocení

Napětí
1000 V DC
Proud
160-450A
Breaking Capacity
100 KA
Časová konstanta 1-15MS
Provozní třída
aR
Normy/schválení
IEC60269, CCC
Země původu
Čína

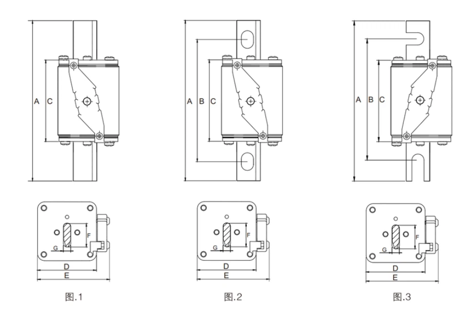
Model
Rozměr (mm)
ZHRS-A1
A B C D E F G OBR
133.5 100.5 68 48 63 20 6 2


Hot Tags: 1000VDC 200A 50Ka Pojistkový článek
Odeslat dotaz
Kontaktní informace
  • Adresa

    Č. 19, Xianshi South Road, Xinguang Industrial Zone, Liushi Town, Yueqing City, Wenzhou City, provincie Zhejiang, Čína

Pokud jde o dotazy týkající se fotovoltaické DC pojistky, válcové pojistky, čtvercový šroub BS88 pojistky nebo ceníku, nechte nám svůj e -mail a my budeme v kontaktu do 24 hodin.
X
Používáme cookies, abychom vám nabídli lepší zážitek z prohlížení, analyzovali návštěvnost webu a přizpůsobili obsah. Používáním tohoto webu souhlasíte s naším používáním souborů cookie. Zásady ochrany osobních údajů
Odmítnout Přijmout